直接查看刀具


工件材料

设备

应用

特征

LEUCO 产品名称

重置


根据刀具类型进行选择


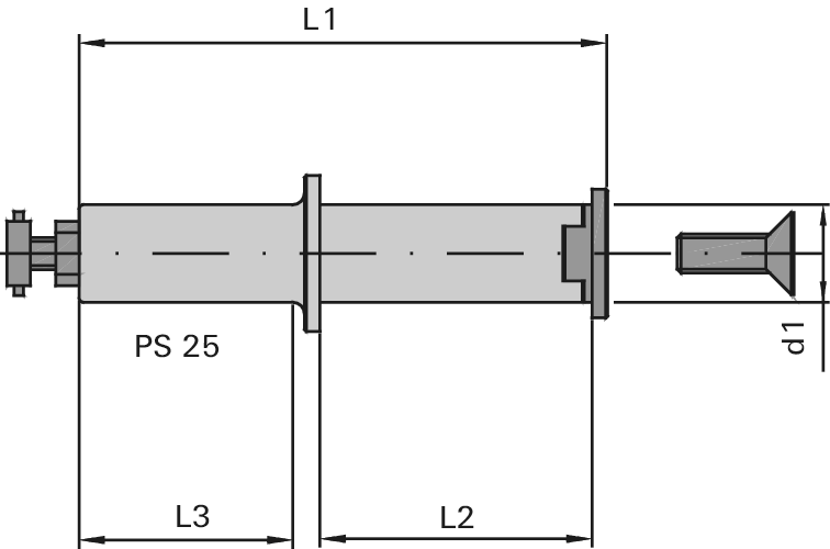
PS 25刀柄

产品

图纸

货物

描述

设备/应用

  • 用于安装 Modula刀具组或单把铣刀

设计

  • 机器的PS 25刀柄或夹头
  • 适用于旋向为顺时针和逆时针方向
  • 主轴有抗扭距保护功能
  • 包括压紧盖

优点

注释

  • 根据使用情况确定夹紧长度,请注明尺寸L2

桌面与图片标题 ...

Ø d1min
[mm]
L2
[mm]
Ø d
[mm]
L1
[mm]
L3
[mm]
ID号 比较 / 查询

未列出您输入的尺寸?
请联系我们的 应用咨询部门 .

可从仓库直接发货
可在短期内发货
请洽询交货时间

25 71 PS 25 135 55 198960 
|