189776 - Compact 粉碎刀 DP - 安装在液压衬套(183829)上 - 锯片朝向主轴(版本2)
技术数据
描述
设备/应用
- 电子开料锯
- 强化地板
设计
- 开放式排屑槽
- 带轴向角
- 可修磨区域可达4毫米
优点
- 通过轴向角改善了排屑效果
- 从粉碎刀到锯片刀齿都处于最佳位置
- 减少了刀具的冲洗
注释
- 可采用逆铣方式针对横纹、纵纹进行切割
- 旋向按照VDMA 8849
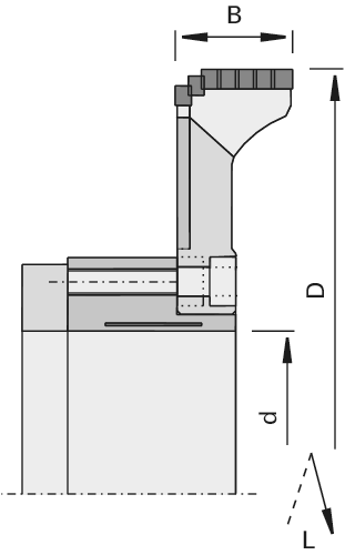
| 特征 | 值 | |
|---|---|---|
| Ø D = 切割圆直径 | 260 [mm] | |
| B = 切削宽度 | 18 [mm] | |
| Ø d = 孔径 | 100 [mm] | |
| Z = 齿数 | 48+24+12+12 | |
| NL = 销孔 | 2x4/8/130 | |
| 左/右 = 切削方向 | 左 | |
| L = 发货代码 | ||
|
未列出您输入的尺寸?
可从仓库直接发货 |
||
配件/附件
| 产品图片 | 描述 | 设计 | ID号 | ||
|---|---|---|---|---|---|
| 液压夹紧轴套-多片锯和粉碎锯(Paul, Homag) | Ø110x18x100 L=65.5 | 183829 | |||
|
可从仓库直接发货 |
|||||

