直接查看刀具


工件材料

设备

应用

特征

LEUCO 产品名称

重置


根据刀具类型进行选择


门扇组HW

产品

图纸

  • 硬质合金[HW]
  • MAN

货物

描述

设备/应用

  • 刨床
  • 用于加工实木与木基材料的门扇与覆层

设计

优点

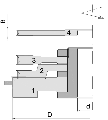
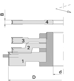
  • 无需更换刀具,因为用相同的刀具组加工不同的廓形

注释

  • 识别号 199399 (包含 887060),用于完整的加工
  • 识别号 199398 ,作为榫面刀头的构建组

桌面与图片标题 ...

Ø D
[mm]
B
[mm]
Ø d
[mm]
Z 附注 ID号 比较 / 查询

未列出您输入的尺寸?
请联系我们的 应用咨询部门 .

可从仓库直接发货
可在短期内发货
请洽询交货时间

150 30 2+2 刀具2/3 安装在夹持套上 199398 
|
150 30 2+2 刀具1/2/3 安装在夹持套上 199399 
|
150 6,0 30 4+4 刀具 4 887060 
|
150 9,0 30 4+4 刀具 3 887059 
|