直接查看刀具


工件材料

设备

应用

特征

LEUCO 产品名称

重置


根据刀具类型进行选择


开槽刀盘HW - 用于 Lamello®

产品

图纸

  • 硬质合金[HW]
  • MAN

货物

描述

设备/应用

  • Lamello® 机器
  • Lamello® 机器用于实木和人造板的无崩边开槽

设计

优点

注释

  • 横向和纵向应用

桌面与图片标题 ...

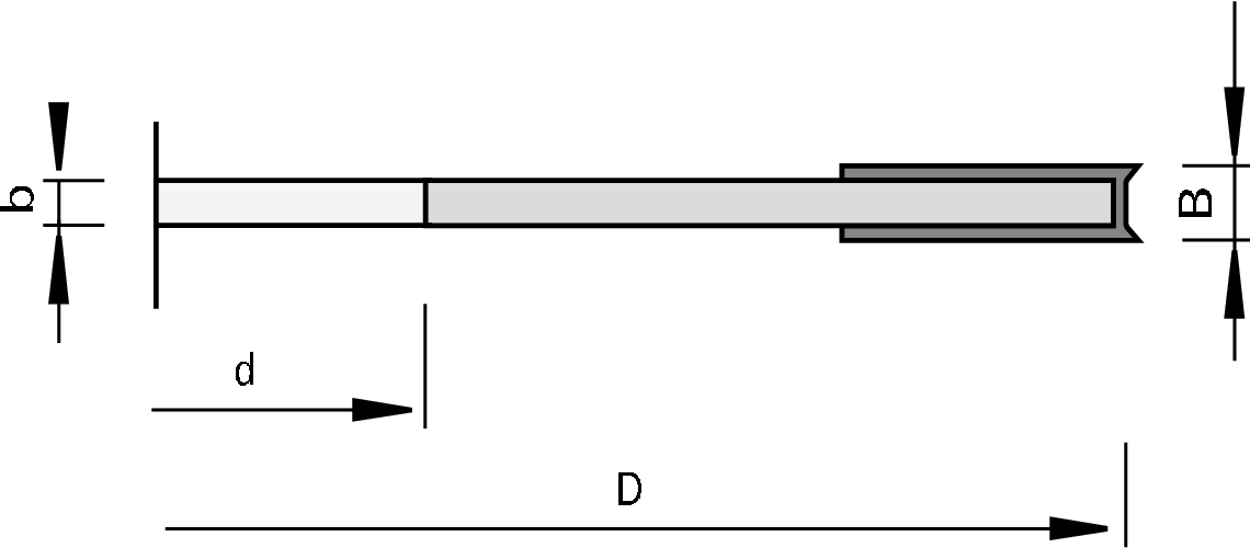
Ø D
[mm]
B
[mm]
b
[mm]
Ø d
[mm]
Z NL nmin-nmax
[min-1]
机床/类型 ID号 比较 / 查询

未列出您输入的尺寸?
请联系我们的 应用咨询部门 .

可从仓库直接发货
可在短期内发货
请洽询交货时间

100 4,0 4 22 4+4 4/4,5/36 7700-13300 Lamello® 164838 
|