直接查看刀具


工件材料

设备

应用

特征

LEUCO 产品名称

重置


根据刀具类型进行选择


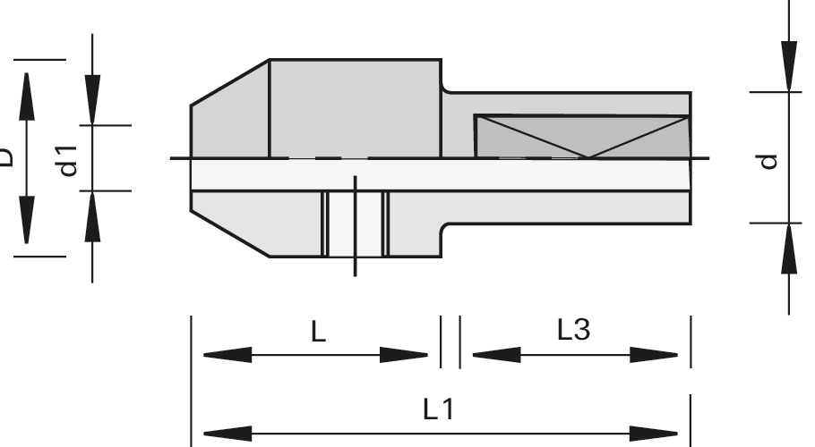
钻头转接头

产品

图纸

货物

描述

设备/应用

  • 用于组合夹套和快速夹套上装夹麻花钻头

设计

  • 柄上带装夹平面
  • 螺纹M5,不带螺丝

优点

注释

  • 用于Weeke快速夹紧套的螺丝Ident-No.186017M5x11.5需要单独订购

桌面与图片标题 ...

Ø d1
[mm]
L
[mm]
Ø d
[mm]
Ø D
[mm]
L1
[mm]
L3
[mm]
ID号 比较 / 查询

未列出您输入的尺寸?
请联系我们的 应用咨询部门 .

可从仓库直接发货
可在短期内发货
请洽询交货时间

2 19 10 15 41 21 183275 
|
2,5 19 10 15 41 21 183276 
|
3 19 10 15 41 21 183277 
|
3,5 19 10 15 41 21 183278 
|
4 19 10 15 41 21 183279 
|
5 19 10 15 41 21 183280 
|